u-blox Modules Bluetooth 5 basse consommation autonomes NINA-B3
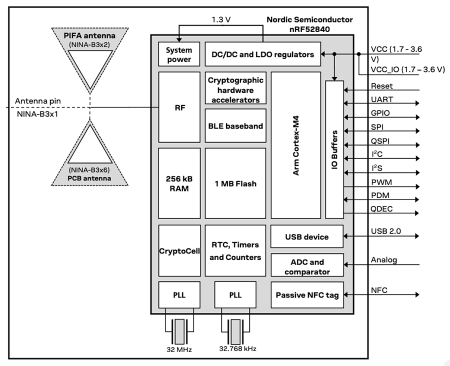
Les modules Bluetooth® 5 basse consommation autonomes NINA-B3 d'U-blox disposent d’une prise en charge complète du Bluetooth 5, d’un puissant Arm® Cortex®-M4 avec UVF et de performances d’alimentation de pointe. Le quartz à faible puissance intégré améliore la consommation d’énergie en permettant des modes d’économie d’énergie optimaux. Les modules NINA-B3 comprennent deux sous-séries : le NINA-B30 et la série NINA-B31. La série NINA-B30 offre une architecture CPU ouverte avec un MCU puissant pour les applications des clients, tandis que la série NINA-B31 est livrée avec le logiciel u-connectXpress ou u-connectScript préinstallé. Les modules de la série NINA-B3, de qualité professionnelle, sont certifiés au niveau mondial pour une utilisation avec l'antenne interne ou une gamme d'antennes externes. Les antennes internes sont spécialement conçues pour le petit facteur de forme NINA et offrent une portée étendue, indépendamment du plan de masse et de l'emplacement des composants. Cela réduit considérablement le temps, les coûts et les efforts des utilisateurs qui intègrent ces modules dans leurs conceptions.Les composants NINA-B30 sont des modules Bluetooth 5 avec un puissant ARM Cortex-M4 avec UVF et des performances d’alimentation de pointe. Les deux variantes du NINA-B30 sont des modules CPU ouverts qui permettent aux applications client de s’exécuter sur l’ARM Cortex-M4 intégré avec UVF. Avec 1 Mo de mémoire flash et 256 Ko de mémoire vive, ils offrent la meilleure capacité de leur catégorie pour les applications des clients sur la pile Bluetooth basse consommation. Le NINA-B301 dispose d'une broche pour une antenne externe, le NINA-B302 d'une antenne PIFA interne et le NINA-B06 d'une antenne de circuit impirmé interne intégrée dans le circuit imprimé du module. Les antennes internes sont spécialement conçues pour le petit format NINA et fournissent une plage étendue, indépendamment du plan de mise à la terre et du placement des composants.
Les dispositifs NIN-B31 sont des modules Bluetooth 5 dotés d’un puissant ARM Cortex-M4 avec UVF et logiciel U-connect pré-flashé. Le logiciel u-connect des modules NINA-B31 assure la prise en charge du service de port série u-blox Bluetooth basse consommation, du client et du serveur GATT, des balises, du NFC™ et des rôles simultanés de périphérique et de central. Ils sont tous configurables depuis un hôte à l'aide de commandes AT. Les modules NINA-B31x fournissent une sécurité de première qualité, grâce au démarrage sécurisé, qui garantit que le module démarre uniquement avec le logiciel u-blox d’origine. Le NINA-B311 dispose d'une broche pour l'utilisation d'une antenne externe, le NINA-B312 est livré avec une antenne PIFA interne et le NINA-B16 dispose d'une antenne de circuit imprimé interne intégrée dans le circuit imprimé du module.
Caractéristiques
- Bluetooth 5, maillage Bluetooth, BlueThread 802.15.4 et Zigbee complets
- Puissant CPU ouvert pour des applications client avancées
- Matériel optimisé pour des performances et une faible consommation d’énergie
- Brochage compatible avec les autres modules NINA
- Fonctionnalité de sécurité supérieure
- Options d’antennes multiples
Applications
- Automatisation industrielle
- Bâtiments et villes intelligents
- Capteurs à faible puissance
- Équipement connecté et configurable sans fil
- Point de vente
- Dispositifs de santé
Schéma fonctionnel
