Texas Instruments Régulateur à faible chute de tension (LDO) réglable TPS7C13
Le régulateur à faible chute de tension (LDO) réglable TPS7C13 de Texas Instruments est un régulateur de 300 mA, de petite taille, à PSRR élevé disponible dans un boîtier SOT-23 (DBV) standard. Ce LDO fournit une source de tension avec un PSRR élevé et des performances transitoires de charge et de ligne qui répondent aux exigences d'une variété de circuits. Le régulateur TPS7C13 fonctionne dans une plage de tension d'entrée de 1,4 V à 5,5 V et une plage de tensions de sortie de 0,6 V à 3,3 V. Le régulateur à faible chute de tension (LDO) TPS7C13 est doté d'un circuit de démarrage progressif interne pour éviter un courant d'appel excessif, minimisant ainsi la chute de tension d'entrée pendant le démarrage. Ce régulateur LDO fonctionne dans une plage de température de jonction de -40°C à 125°C. Le régulateur à faible chute de tension (LDO) réglable TPS7C13 est disponible dans un boîtier SOT-23 (DBV) standard.Caractéristiques
- PSRR élevé de 55 dB (1 MHz)
- Plage VIN de 1,4 V à 5,5 V
- Plage de tensions de sortie réglable de 0,6 V à 3,3 V
- Précision de la tension de sortie de 2,5 %
- Tension de relâchement faible de 255 mV à 300 mA (3,3 V OUT )
- Limite du courant de repli avec arrêt thermique
- Résistance d'abaissement de sortie active
- Boîtier SOT-23 (DBV) 5 broches
Applications
- Smartphones
- Tablettes
- Consoles de jeux
- Notebooks
- Lecteurs multimédia de streaming
- Boîtiers adaptateurs
- Modules pour caméras
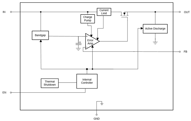
Schéma fonctionnel
Publié le: 2025-09-30
| Mis à jour le: 2025-10-29
