Texas Instruments TPS563231 Step-Down Voltage Regulator

Texas Instruments TPS563231 Step-Down Voltage Regulator is a simple, easy-to-use, 3A synchronous step-down converter in a SOT563 package. The device is optimized to operate with minimum external component counts and achieve a low standby current. These switch mode power supply (SMPS) devices employ D-CAP3 mode control, providing a fast transient response. These devices also support low-equivalent series resistance (ESR) output capacitors such as specialty polymer and ultra-low ESR ceramic capacitors with no external compensation components. During a light load operation, TPS563231 operates in pulse skip mode (PSM), which maintains high efficiency. The Texas Instruments TPS563231 is available in a 6-pin 1.6mm x 1.6mm SOT563 (DRL) package and specified from a –40°C to 125°C junction temperature.

Features

  • 3A converter integrated 95mΩ and 55mΩ FETs
  • D-CAP3™ mode control with fast transient response
  • Input voltage range: 4.5V to 17V
  • Output voltage range: 0.6V to 7V
  • Pulse skip mode
  • 600kHz switching frequency
  • Low shutdown current less than 12µA
  • 2% feedback voltage accuracy (25°C)
  • Startup from a pre-biased output voltage
  • Cycle-by-cycle over current limit
  • Hiccup-mode overcurrent protection
  • Non-latch UVP and TSD protections
  • 6-Pin SOT563 package

Applications

  • Digital TV power supply
  • High definition Blu-ray™ disc players
  • Networking home terminal
  • Digital set-top box (STB)
  • Surveillance

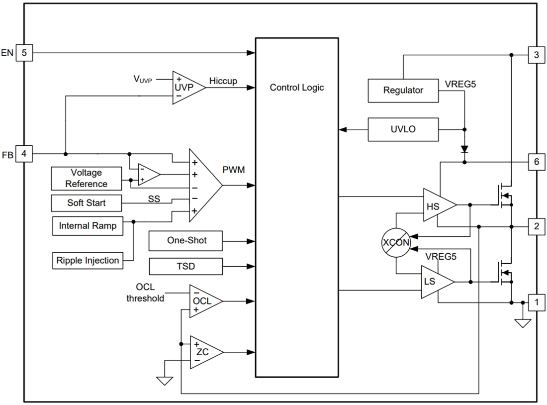
Functional Block Diagram

Block Diagram - Texas Instruments TPS563231 Step-Down Voltage Regulator
Publié le: 2019-04-04 | Mis à jour le: 2023-08-17