Texas Instruments Module d'évaluation TMUX9616QFPEVM

Le module d'évaluation TMUX9616QFPEVM de Texas Instruments est conçu pour prototyper rapidement et facilement les multiplexeurs TMUX9616PT et TMUX9616NPT. Les TMUX9616 et TMUX9616N sont des circuits intégrés (CI) de commutation analogique à 16 canaux, à faible résistance, faible capacité et haute tension avec immunité au verrouillage. Les dispositifs possèdent 16 canaux de commutation 1:1, unipolaires unidirectionnels (SPST) sélectionnables indépendamment et fonctionnent avec des alimentations doubles jusqu'à ±110 V. Le TMUX9616 est doté de résistances de fuite sur la sortie, tandis que le TMUX9616N n'en est pas équipé.

Le TMUX9616N peut être commandé séparément et placé sur le TMUX9616QFPEVM de TI pour évaluation.

Caractéristiques

  • Matériel de contrôleur SPI et interface utilisateur graphique (GUI) intégrés pour les communications avec le TMUX9616
  • Connecteurs à connexion directe pour une intégration facile du générateur d'impulsions TX7516
  • Broches d'embase pour surveiller toutes les broches source et drain et les broches de contrôle numérique
  • Bornes d'alimentation électrique pour VDD, VLL et GND avec des condensateurs de découplage placés près de la borne d'alimentation d'entrée et du dispositif
  • Circuit de surveillance de coupure thermique avec signal LED

Applications

  • Imagerie médicale à ultrasons
  • Détection CND de défauts sur métaux
  • Pilotes de capteurs piézoélectriques
  • Transmetteurs de débit à ultrasons
  • Imprimantes
  • Modules MEMS optiques

Contenu du kit

  • TMUX9616QFPEVM
  • Câble mini-USB

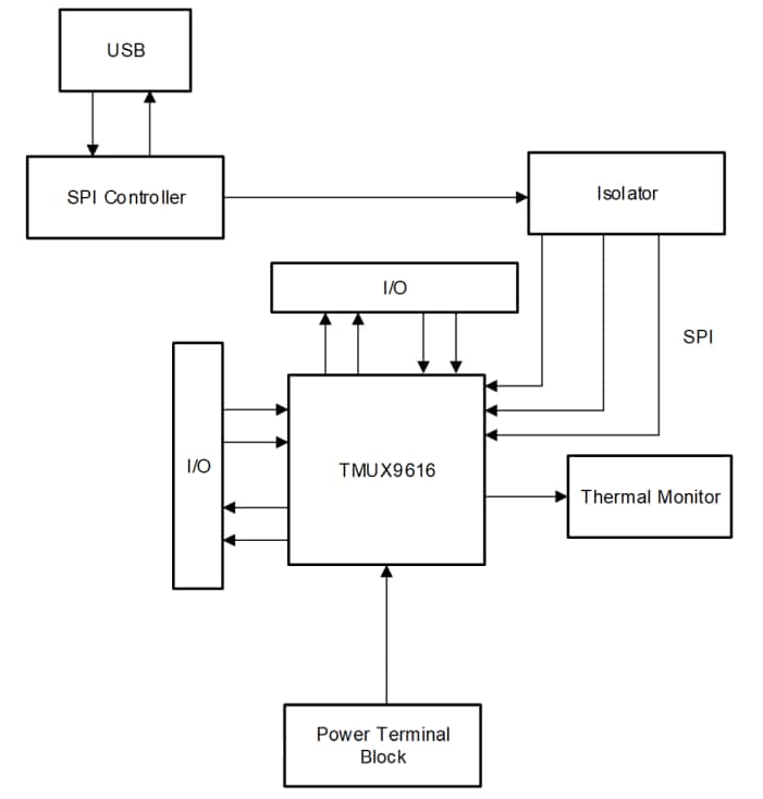
Schéma fonctionnel

Schéma de principe - Texas Instruments Module d'évaluation TMUX9616QFPEVM

Topologie

Texas Instruments Module d'évaluation TMUX9616QFPEVM
Publié le: 2025-05-29 | Mis à jour le: 2025-06-06