Texas Instruments Amplificateurs asymétriques vers différentiels OPA862
Les amplificateurs asymétriques vers différentiels OPA862 de Texas Instruments sont conçus avec une haute impédance d'entrée pour une interface directe avec les capteurs. L'OPA862 ne consomme que 3,1 mA de courant de repos pour une densité de bruit de sortie de 8,3nV/√Hz dans une configuration de gain de 2V/V. Un amplificateur entièrement différentiel configuré avec un gain de 1V/V à l'aide de résistances de 1 kΩ doit avoir une densité de bruit équivalente en sortie inférieure à 1nV/√Hz pour atteindre la densité de bruit équivalente à la sortie de l'OPA862 qui est de 8,3nV/√Hz.À l'aide de résistances externes, l'OPA862 peut être configuré pour d'autres gains. Les amplificateurs OPA862 offrent une large bande passante de gain de 400 MHz et une vitesse de montée de 140 V/µs. Cette caractéristique permet une linéarité exceptionnelle et desperformances de résolution rapide de 18 bits pou des pilotes CAN differentiels équivalents. Les amplificateurs incluent une broche d'entrée de référence pour régler la tension de mode commun de sortie.
L'OPA862 est entièrement caractérisé pour fonctionner sur une large plage d'alimentation de 3 V à 12,6 V et offre un étage de sortie rail à rail. L'OPA862 de Texas Instruments est fabriqué à l'aide d'un processus silicium-germanium (SiGe) déposé à grande vitesse pour atteindre des performances exceptionnelles dedistorsion pour les systèmes 18 bits. Le composant est également doté d'un mode désactivé qui ne consomme que 12 µA de courant de repos à l'état d'arrêt.
Les amplificateurs OPA862 de Texas Instruments sont conçus pour fonctionner sur une plage de température industrielle étendue de -40°C à +125 °C.
Caractéristiques
- Large plage d'alimentation de 3 V à 12,6 V
- Impédance d'entrée élevée de 325MΩ
- Bruit de tension
- Entrée référée (f ≥ 5 kHz) : 2,3 nV/√Hz
- Référencé en sortie (f ≥ 10 kHz) : 8,3 nV/√Hz
- Décalage de sortie différentiel maximal de ±700µV
- Décalage de sortie de dérive standard de ±1,5µV/°C
- ±5nA (standard) d'annulation du courant de polarisation A2, IB.
- Produit gain-bande passante de 400 MHz
- Largeur de bande du signal faible de 44 MHz (G = 2V/V)
- Vitesse de balayage de 140V/µs
- –122 dBc, –140 dBc HD2, HD3 (VOD = 10 VPP, 50 kHz)
- Sortie rail à rail: Courant de sortie linéaire élevé: 60 mA (typ)
- Courant de repos de 3,1 mA
- Mode désactivé avec un courant de repos de 12 µA
- Exploitation à température étendue de -40 °C à +125 °C
Applications
- Pilotes de CAN 16 bits et 18 bits
- Testeurs de mémoire et de LCD
- Acquisition de données (DAQ)
- Test et mesure
- Amplificateurs de transimpédance (TIA)
- Pilotes d'amplificateur audio de classe D
- Interface de capteur piézoélectrique
- Instrumentation médicale
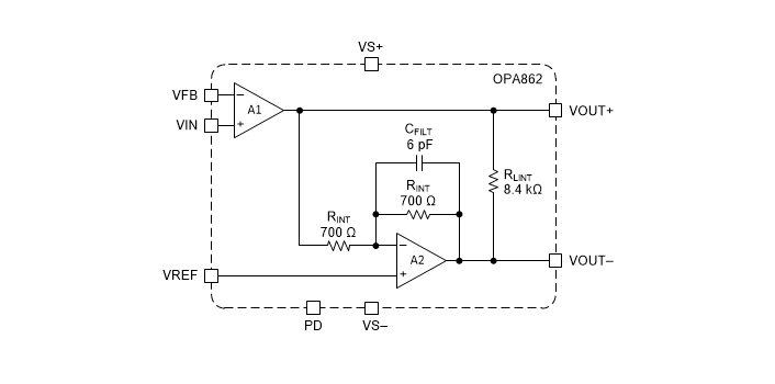
Schéma de principe
