Texas Instruments Pilote LED RVB à matrice 4 × 3 LP5813

Le pilote LED RVB à matrice 4 × 3 LP5813 de Texas Instruments est un pilote RVB Boost synchrone avec contrôle du moteur d’animation autonome. Ce composant est idéal pour prendre en charge les applications alimentées par batterie avec une plage de tension d’entrée de 0,5 V à 5,5 V et dispose d’un courant de fonctionnement normal ultra-faible de 0,4 mA (standard) lors de l’allumage des LED.

Le convertisseur élévateur synchrone intégré offre un excellent rendement et assure la stabilité de la luminosité des LED sur une large plage de tensions de fonctionnement. La tension de sortie peut être sélectionnée pour différentes tensions directes de LED de 3 V à 5,5 V par incréments de 0,1 V. Le convertisseur boost peut alimenter les LED pilotées et d’autres charges du système. Si le convertisseur élévateur doit être contourné, VOUT est utilisé comme entrée d'alimentation électrique pour les blocs de pilote LED.

La structure de multiplexage temporel (TCM), qui utilise quatre broches de sortie pour contrôler 12 points LED individuellement, est adoptée. Le commutateur de lecture côté haut et le dissipateur de courant côté bas sont contenus dans une seule sortie. La taille totale de la solution est minimisée pour un système à espace limité.

Le moteur d’animation autonome peut réduire considérablement la charge en temps réel du contrôleur. Chaque LED peut être configurée via les registres associés pour réaliser des effets d’éclairage vifs et originaux. Le LP5813 de Texas Instruments peut générer un signal d’horloge de 6 MHz et synchroniser les effets d’éclairage entre plusieurs dispositifs.

Caractéristiques

  • Plage de tension d'exploitation
    • Plage de tension d'entrée de 0,5 V à 5,5 V (VIN)
    • Tension d’entrée minimale de 1,8 V pour le démarrage
    • Broches logiques compatibles avec 1,8 V, 3,3 V et 5 V
  • Convertisseur élévateur synchrone à haut rendement
    • Plage de tension de sortie de 3 V à 5,5 V (VOUT)
    • MOSFET de 140 mΩ (HS)/60 mΩ (LS)
    • Limite de courant de commutation en creux de 1,6 A
    • Efficacité de 95 % à VIN = 4,2 V, VOUT = 5,0 V, IOUT = 300 mA
    • Mode de passage lorsque VIN > réglage VOUT
    • Véritable déconnexion entre l'entrée et la sortie pendant l'arrêt
  • Topologie de multiplexage temporel (TCM)
    • Pilote jusqu’à 12 LED ou 4 LED RVB
    • Rapport de multiplexage : ¼, ⅓, ½, 1
    • Prend en charge les modes direct, TCM et mix-drive
  • Quatre dissipateurs de courant continu de haute précision
    • De 0,1 mA à 51 mA par dissipateur de courant
    • Erreur de dispositif à dispositif de ±5 % max
    • Erreur de canal à canal de ±5 % maximum
    • Tension de marge ultra-faible de 110 mV (std) à 25.5mA; 210 mV (std) à 51 mA
    • Déphasage PWM configurable pour chaque LED
  • Consommation électrique ultra-faible
    • Arrêt : ISD = 0,1 µA (standard) lorsque EN = bas
    • Mode veille : ISTB = 26 µA (standard) lorsque EN = Haut et CHIP_EN = 0 (données conservées)
    • Actif : INOR = 0,45 mA (standard) lorsque le courant LED = 25,5 mA
  • Gradation analogique (contrôle du gain de courant)
    • Courant maximal (MC) 1 bit global : 25,5 mA ou 51 mA
    • Réglage individuel du courant de point (CC) 8 bits
  • Gradation PWM jusqu’à 24 kHz sans bruit audible
    • Résolution de gradation PWM 8 bits individuelle
    • Courbes de gradation linéaires ou exponentielles
  • Contrôle de moteur d’animation autonome
  • Détection de court-circuit/ouverture de LED individuelles
  • Fonction de suppression des images fantômes intégrée
  • 1 MHz (max.) I2C interface
  • Plage de température de fonctionnement : -40°C à 85°C

Applications

  • Animation et indication LED pour
    • Électronique portable et wearable : écouteurs et boîtier de chargement, cigarette électronique, montre intelligente
    • Jeux et divertissement à domicile : haut-parleur intelligent, souris RVB, casque VR et contrôleur
    • Internet des objets (IoT) : étiquette électronique, sonnette vidéo
    • Réseau : routeur, point d’accès
    • IHM industriel : chargeur EV, automatisation d’usine

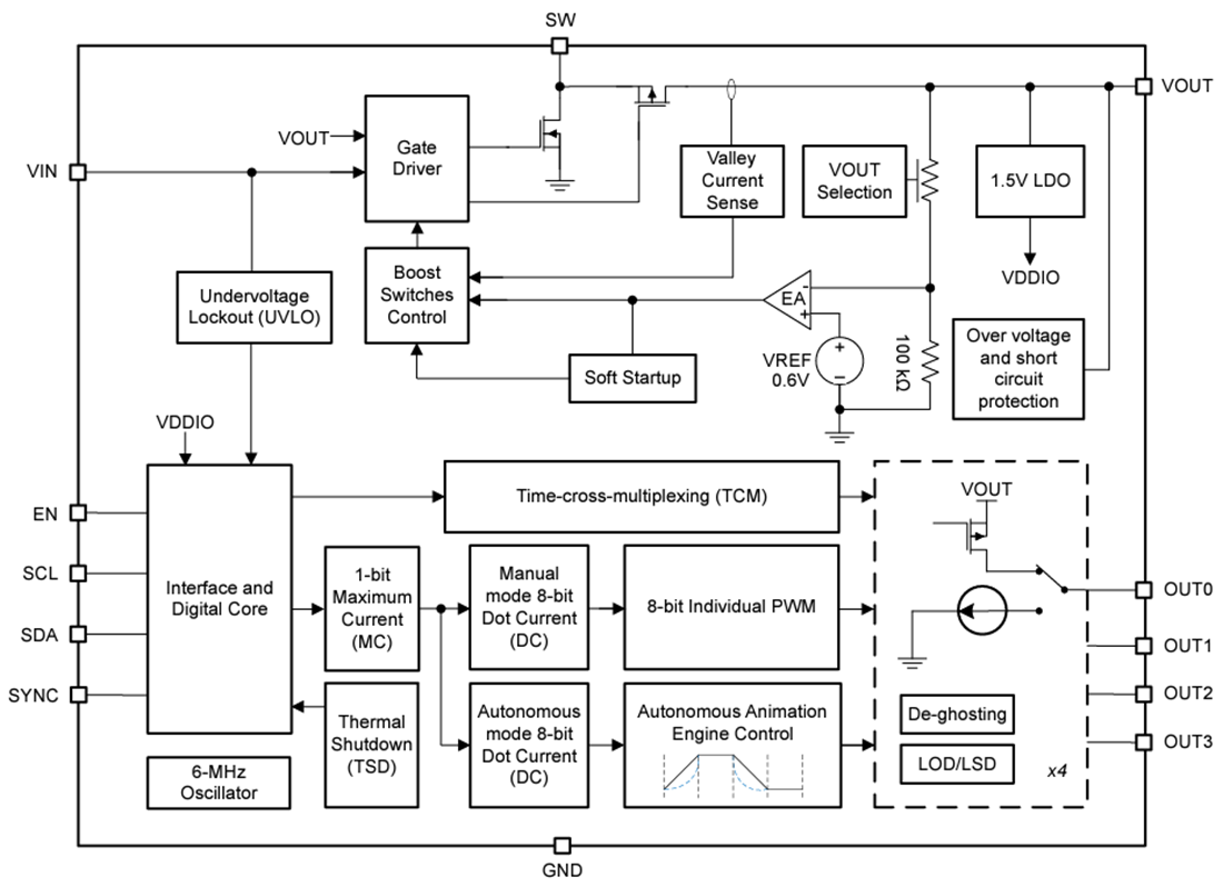
Schéma fonctionnel

Schéma de principe - Texas Instruments Pilote LED RVB à matrice 4 × 3 LP5813
Publié le: 2023-12-11 | Mis à jour le: 2024-06-07