Texas Instruments Contrôleur Buck-Boost LM251772 36 V à 4 commutateurs
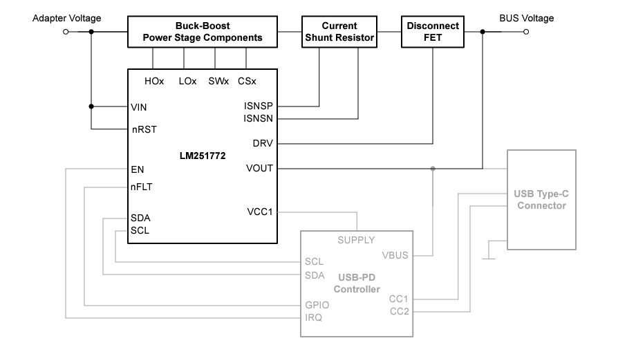
Le contrôleur Buck-Boost LM251772 36 V à 4 commutateurs de Texas Instruments est doté d'une tension de sortie régulée si la tension d'entrée est supérieure, égale ou inférieure à la tension de sortie réglée. Le contrôleur LM251772 de TI prend en charge une haute efficacité en mode économie d'énergie sur toute la plage d'exploitation de la sortie. L'interface I2C intégrée permet une programmation dynamique de la tension de sortie et du courant moyen. La plage de configuration de la tension de sortie et du courant moyen répond aux exigences standard de l'USBPD. La broche DRV intégrée peut contrôler un FET de déconnexion pour prendre en charge les exigences d'accès à double rôle (DRP).Caractéristiques
- Plage d'entrée de 3,5 V à 36 V
- Programmation Vo dynamique via I2C de
- De 3,3 V à 48 V par paliers de 20 mV
- 1 V jusqu'à 24 V par incréments de 10 mV
- Contrôle de la régulation du courant de pointe
- Ondulation de faible transition de tension dans tous les modes de fonctionnement
- Courant de repos à l'arrêt : 3 μA
- Courant de repos en fonctionnement : 60 μA
- Broche de contrôle (DRV) pour le chemin de puissance d'accès à double rôle
- Sortie Push-pull pour le contrôle rapide des FET pMOS
- Configurable en tant qu'étape de pilote de pompe de charge pour FET nMOS
- Sélection du mode de fonctionnement pour une haute efficacité dans les conditions de charge légère et de charge élevée :
- Mode d'économie d'énergie (Single Pulse/μSleep)
- Mode de conduction automatique
- Alimentation haute tension LDO intégrée
- LDO haute tension auxiliaire pour alimentation du contrôleur PD
- Commande de grille à pont complet intégrée
- Capacité de courant de crête de 2 A
- Protection contre les surtensions et les sous-tensions
- Diode d'amorçage intégrée
- Fréquence fixe indépendante du mode de fonctionnement (Boost, Buck-Boost, Buck)
- Mode MLI forcé sélectionnable
- Fréquence de commutation de 100 kHz à 600 kHz
- Synchronisation externe de l'horloge et sortie horloge
- Capteur de courant d'entrée ou sortie moyen entrée
- Programmable de 0,5 A à 7 A par incréments de 50 mA
- Broche ISET sélectionnable
- Lecture de l'interface I2C des fonctionnalités de surveillance
- Plage de température commerciale (Tj = 0 °C à +70 °C)
- Créez un conception personnalisé en utilisant le LM251772 avec le Power Designer WEBENCH®
Applications
- Alimentation par USB Type-C™ :
- Station d'accueil
- Moniteur PC
- PC industriel/PC robuste
- Adaptateur CA/CC USB
- Chargement sans fil
Schéma d'application standard
Publié le: 2025-01-07
| Mis à jour le: 2025-07-17
