Semtech Égaliseurs de câbles adaptatifs de reclocking GS3241 3G-SDI
Les égaliseurs de câbles adaptatifs de reclocking GS3241 3G-SDI de Semtech offrent une resynchronisation multi-débit à faible consommation qui prend en charge des débits allant jusqu'au 3G-SDI. Le GS3241 est destiné à égaliser et à restaurer les signaux reçus sur un câble coaxial de 190 m pour le 3G, à compenser le contenu DC des signaux pathologiques SMPTE et à resynchroniser les données entrantes. Avec un moniteur oculaire intégré, le GS3241 de Semtech offre une analyse en mode mission sans interruption du signal d'entrée post-égalisé. La matrice de numérisation de résolution de 256x128 permet une analyse précise du signal, ce qui accélère le prototypage et l'analyse sur le terrain.Les égaliseurs de câbles GS3241 comportent des macros intégrées, qui personnalisent l'analyse des sections transversales et les mesures d'ouverture des yeux horizontales/verticales à un rythme rapide. Deux pilotes de trace contrôlés indépendamment fournissent des commandes de préaccentuation et d'oscillation hautement configurables pour compenser les longues pertes de trace et de connecteur. Le GS3241 est compatible en termes de broches avec les entrées simples GS12141 et GS12241 , ainsi qu'avec les égaliseurs de câble de resynchronisation multi-débits GS12142 à double entrée 12G UHD-SDI.
Caractéristiques
- Interface d'entrée de câble 75 Ω avec terminaison sur puce
- Entrée/sortie compatible SMPTE ST 424, ST 292-1 et ST 259
- Opération multistandard de 1 Mbit/s à 2,97 Gbit/s
- En plus des débits SMPTE standard, l'appareil prend également en charge le resynchronisation du DVB-ASI à 270 Mbit/s et du MADI à 125 Mbit/s
- Moniteur oculaire de signal d'entrée 3D
- Générateur et vérificateur PRBS
- Égalisation automatique des câbles - longueurs de câble égalisées typiques du câble Belden 1694A :
- 190 m à 2,97 Gbit/s
- 260 m à 1,485 Gbit/s
- 450 m à 270 Mbit/s et 125 Mbit/s
- Caractéristiques de l'égaliseur de câble :
- Mise hors tension automatique en cas de perte de signal
- Détection de porteuse programmable avec réglage du seuil de silencieux
- Compensation d'oscillation de lancement programmable pour une source non conforme
- Bypass d'égalisation de câble manuel et automatique
- Fonctionnalités du pilote de trace :
- Terminaison de sortie différentielle de 100 Ω intégré
- Étend la prise en charge du couplage CC de sortie avec la plage d'alimentation de sortie de 1,2 V à 2,5 V
- Préaccentuation de la sortie des données du pilote de trace pour compenser jusqu'à 60" FR4 à 2,97 Gbit/s
- Contournement du re-timer manuel ou automatique
- Mise en sourdine ou désactivation manuelle ou automatique en LOS
- Caractéristiques du CDR :
- Modes de tarification manuels ou automatiques
- Contrôle de la bande passante en boucle large
- Le resynchronisation aux débits de données suivants : 125 Mbit/s, 270 Mbit/s, 1,485 Gbit/s et 2.97 Gbit/s, cela inclut les débits f/1.001
Applications
- Interface SMPTE ST 424
- Interface SMPTE ST 292
- Interface SMPTE ST 259
- Appareils photo
- Commutateurs
- Amplificateurs de distribution
- Routeurs
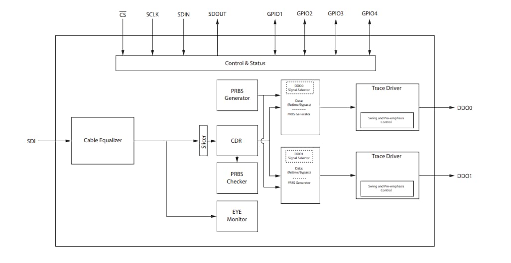
Schéma fonctionnel
Publié le: 2020-07-01
| Mis à jour le: 2024-12-05
