onsemi Pilotes de grille NCx57252
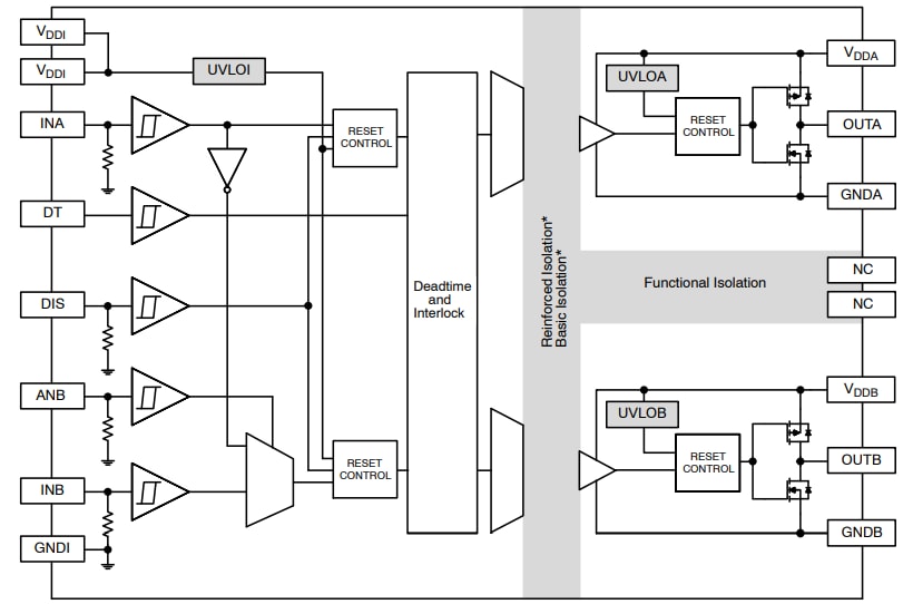
Les pilotes de grille NCx57252 d'onsemi sont des pilotes de grille IGBT/MOSFET isolés à double canal et courant élevé avec une isolation galvanique interne de 2,5 kVrms ou 5 kVrms de l’entrée à chaque sortie. Ces pilotes acceptent des niveaux de signal et de tension de polarisation de 3,3 V à 20 V en entrée et une tension de polarisation jusqu’à 32 V en sortie. Les pilotes de grille NCD(V)57252 affichent des performances constantes et peuvent être configurés comme des doubles pilotes côté bas ou côté haut ou pont haut. Ces pilotes de grille acceptent des entrées complémentaires et offrent des broches séparées pour la désactivation et le contrôle du temps mort pour faciliter la conception du système. Les pilotes NCx57252 assurent la commutation rapide et sont disponibles en boîtiers SOIC-16 à corps large et SOIC-16 à corps étroit. Ces pilotes sont principalement utilisés dans les automobiles, le secteur industriel, les chargeurs de véhicules électriques (VE), les commandes de moteurs, l'alimentation sans interruption (ASI) et les onduleurs solaires.Caractéristiques
- Courant de sortie de crête élevé (±6,5 A, ±3,5 A)
- Configurable en tant que double pilote côté bas ou double côté haut ou demi-pont
- Contrôle de temps mort ou de chevauchement programmable
- Une broche de désactivation permet de désactiver les sorties pour le séquençage de l'alimentation
- La fonction ANB permet de configurer le pilote comme un pilote en demi-pont fonctionnant avec un seul signal d'entrée.
- Verrouillage de grille IGBT/MOSFET lors d'un court-circuit
- Délais de propagation courts avec correspondance précise
- Seuils UVLO élevés pour toutes les alimentations électriques
- Entrée logique 3,3 V, 5 V et 15 V
- isolation galvanique de 2,5 kVrms ou 5 kVrms de l’entrée à chaque sortie et tension différentielle de 1,5 kVrms entre les canaux de sortie
- Tension de fonctionnement de 1200 V (selon les exigences de la VDE0884-11)
- Immunité transitoire élevée en mode commun
- Préfixe NCV pour les applications automobiles et d'autres applications nécessitant un site unique et des changements de contrôle
- Certifiés AEC-Q100 et compatible PPAP
- Sans plomb, sans halogène, sans BFR et conforme à la directive RoHS.
Applications
- Automobile
- Secteur industriel
- Chargeurs de véhicules électriques (VE)
- Alimentation sans interruption (ASI)
- Alimentations électriques industrielles
- Commande de moteurs
- Onduleurs solaires
Schéma de principe
Publié le: 2021-05-27
| Mis à jour le: 2024-03-15
