Microchip Technology LDO haute tension MCP1722
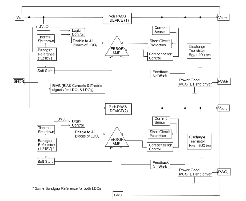
Les LDO haute tension MCP1722 de Microchip Technology sont des régulateurs à double sortie, haute tension et faible chute de tension (LDO) conçus pour alimenter un µprocesseur avec 3,3 V ou 5,0 V. Le MCP1722 dispose d'une capacité de courant de 100 mA tout en offrant également 10 V ou 12 V à un pilote de moteur avec une capacité de courant de 50 mA. Ces caractéristiques permettent aux LDO MCP1722 d'être idéaux pour les outils électriques portatifs alimentés par batteries de 20 V.Les LDO haute tension MCP1722 de Microchip incluent des indicateurs Power Good (deux broches, PWG1 et PWG2) pour les deux sorties et la fonctionnalité d'arrêt (une seule broche SHDN) qui place le composant dans un état de faible consommation de courant de 4 µA. Les LDO sont logés dans deux boîtiers VDFN ou SOIC à 8 broches avec des plots exposés pour une meilleure dissipation thermique. En fonctionnement, le MCP1722 est entièrement protégé par une protection d'arrêt thermique et une limitation de repli de courant.
Caractéristiques
- Certifié AEC-Q100 classe 0, compatible PPAP
- Tension d'entrée de 4,5 V à 55 V
- Verrouillage de sous-tension (UVLO) 2,7 V standard
- Protection contre la perte de charge de 65 V (ISO 7637-2/2004)
- Plage de température de jonction étendue de -40 °C à +150 °C
- Tensions régulées de sortie standard (VR) :
- VOUT1 : 10 V ou 12 V
- VOUT2 : 3,3 V ou 5,0 V
- Tolérance de +/-2 % pour chaque sortie LDO
- Capacité de courant de sortie standard :
- VOUT1 : 50 mA
- VOUT2 : 100 mA
- Broches Power-Good à drain ouvert pour les deux sorties LDO
- Faible courant d'alimentation en veille de 50 µA
- Faible courant d'alimentation de repos à l'arrêt de 4 µA
- Stable 3,3 µF avec un condensateur céramique en sortie
- Protection contre le repli du courant de court-circuit
- Protection d'arrêt thermique standard de ° 178 C
- PSRR élevé :
- -80 dB à 100 Hz standard
- Disponible dans les boîtiers suivants :
- Corps VDFN 8 fils de 3 mm x 3 mm avec plot exposé de 2,40 mm x 1,60 mm
- Corps SOIC 8 fils de 3,90 mm avec plot exposé de 2,2 mm x 3,0 mm
Applications
- Outils alimentés par batterie
- Aspirateur-balai
- Polarisation de démarrage pour les contrôleurs PWM
Application standard
Types de boîtiers
Schéma fonctionnel
Publié le: 2021-09-13
| Mis à jour le: 2023-03-02
