Microchip Technology SoC BLUETOOTH® basse consommation IS1870/71
Les SoC BLUETOOTH® Low Energy IS1870/71 de Microchip Technology sont constitués d’un émetteur-récepteur 2,4 GHz, d’une unité de gestion de l’alimentation (PMU), d’une pile logicielle BLUETOOTH Low Energy de Microchip et d’un amplificateur de puissance RF.Les SoC BLUETOOTH Low Energy IS1870/71 Microchip offrent une intégration et une programmation simples, un temps de développement réduit, une solution Bluetooth Low Energy supérieure avec un système économique, une interopérabilité avec le système BLUETOOTH® iOS et BLUETOOTH™ et une large gamme de prise en charge des applications.
Le SoC IS1870/71 est optimisé pour maintenir une connexion sans fil à basse consommation, et le boîtier compact est conçu pour les applications portables.
Caractéristiques
- Bluetooth smart 4.2 compatible Bluetooth Low Energy
- Mémoire flash intégrée de 256 Ko
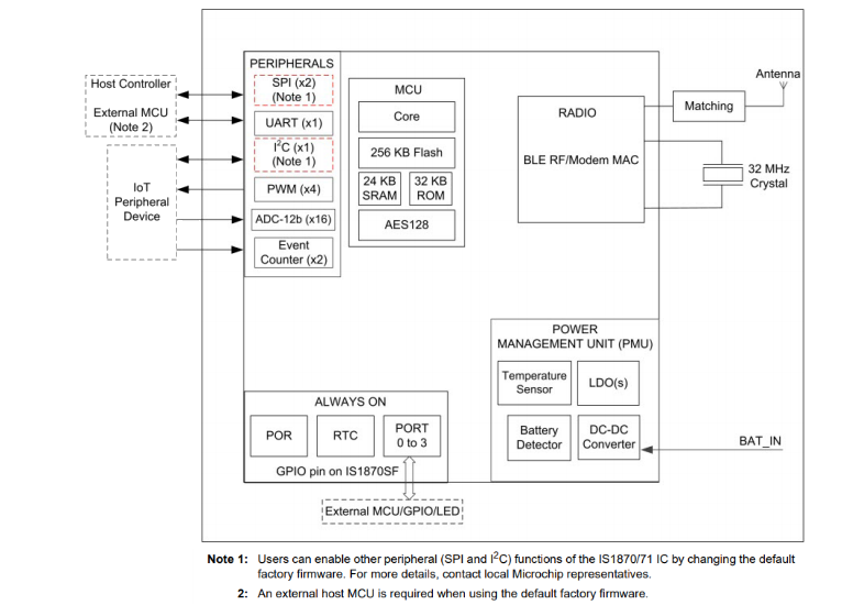
- Interface UART/SPI/I2C prise en charge
- L’oscillateur à quartz intégré fonctionne avec un quartz externe 32 MHz
- Capteur de température pris en charge
- 31 broches d'E/S à usage général (GPIO) pour le SoC IS1870 et 15 broches GPIO pour le SoC IS1871
- Prend en charge la modulation de largeur d'impulsion (PWM) à 4 canaux pour le SoC IS1870 et la PWM à 1 canal pour le SoC IS1871
- Prend en charge l'ADC 12 bits (ENOB = 10 ou 8 bits) pour la détection de la batterie et de la tension
- Un ADC à 16 canaux pour le SoC IS1870 et un ADC à 6 canaux pour le SoC IS1871 sont fournis
- Moteur matériel AES-CMAC
- Prise en charge des balises
- Faible consommation d’énergie
- Format compact :
- IS1871 dans un boîtier 32QFN de 4 mm x 4 mm
- IS1870 dans un boîtier 48QFN de 6 mm x 6 mm
Applications
- Internet des objets (IdO)
- Dispositifs portables, fitness ou santé
- Balance de pesée
- Services de proximité/recherche
- Paiement sécurisé
- Balises numériques
- Appareils grand public ou domotique
- Applications industrielles
Schéma de principe IS1870
Schéma fonctionnel IS1871
Vidéos
Publié le: 2021-03-15
| Mis à jour le: 2024-10-30
