Infineon Technologies Pilotes de MOSFET et d'IGBT IR2233/IR2235
Les pilotes de MOSFET et d'IGBT IR2233/IR2235 d'Infineon Technologies disposent de trois canaux de sortie indépendants référencés côté haut et côté bas pour les applications triphasées. La technologie HVIC propriétaire permet une construction monolithique renforcée. Les entrées logiques sont compatibles avec les sorties CMOS ou LSTTL jusqu'à une logique de 2,5 V. Un amplificateur opérationnel indépendant fournit une rétroaction analogique du courant du pont via une résistance de détection de courant externe.Caractéristiques
- Canal flottant conçu pour un fonctionnement en circuit fermé
- Fonctionne jusqu'à +1 200 V
- Fonctionnement jusqu'à +600 V (IR2135) disponible en option
- Tolère une tension transitoire négative
- Immunité dV/dt
- Plages d'alimentation de la commande de grille de 10 V/12 V à 20 V CC et jusqu'à 25 V pour les transitoires
- Verrouillage de sous-tension pour tous les canaux
- L'arrêt de surintensité désactive les six pilotes
- Trois pilotes en demi-pont indépendants
- Retard de propagation homogène pour tous les canaux
- Compatible avec une logique 2,5 V
- Sorties déphasées avec les entrées
Applications
- Appareils électroménagers
- Entraînements et commande de moteur
- Robotique
- Automatisation résidentielle et commerciale
- Chauffage et soudure industriels
- Multicoptères et drones
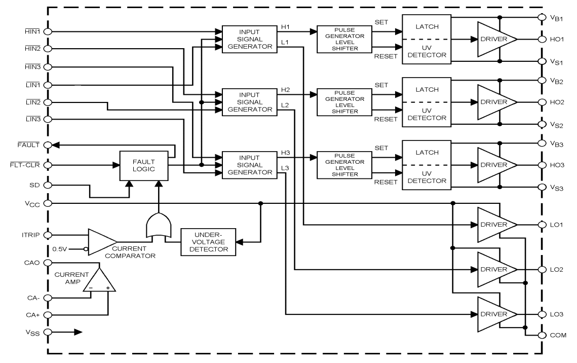
Schéma de principe
Publié le: 2020-02-03
| Mis à jour le: 2024-09-26
