Diodes Incorporated Contrôleurs de dissipateur USB Type-C® PD 3.1 AP33771C
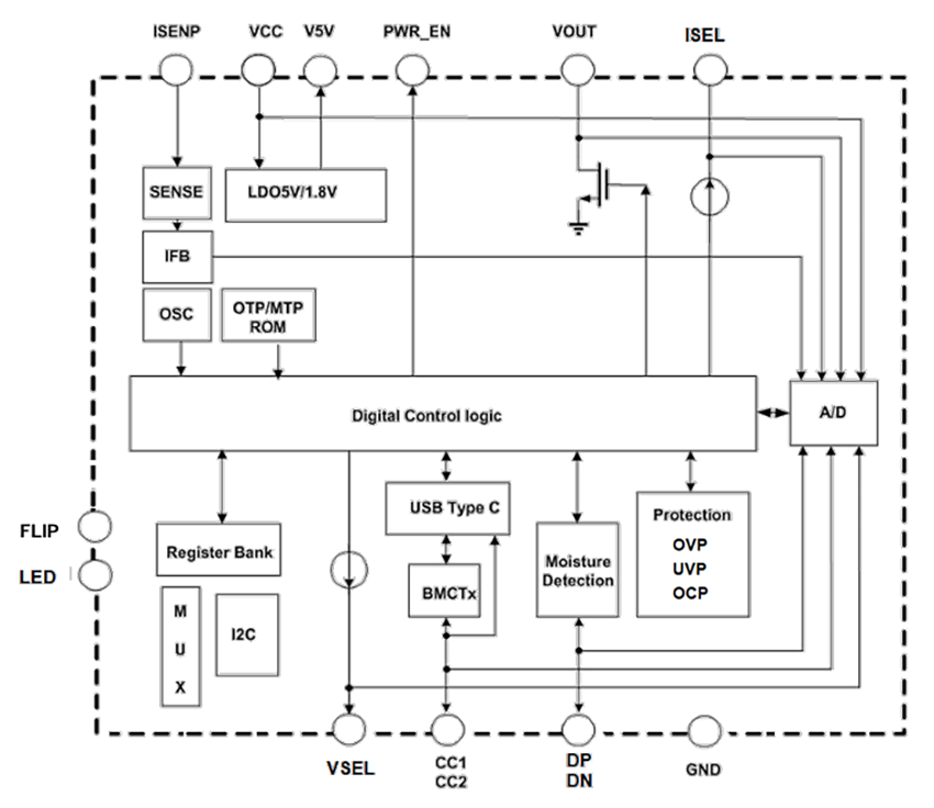
Les contrôleurs de dissipation PD 3.1 USB Type-C® AP33771C de Diodes Incorporated sont des composants hautement intégrés qui prennent en charge une plage d’alimentation étendue (EPR)/une alimentation réglable (AVS) jusqu’à 28 V et une plage d’alimentation standard (SPR)/une alimentation programmable (PPS) jusqu’à 21 V. Les dispositifs ciblent les demandes/contrôle d’alimentation CC pour les dispositifs équipés de connecteurs (TCD) de Type C via des paramètres simples de résistance externe. Pour un TCD simple sans MCU système, l'AP33771C initie la demande de puissance souhaitée en interprétant les valeurs de résistance correspondantes de la broche VSEL (tension) et de la broche ISEL (courant) après la réinitialisation à la mise sous tension (POR).Basés sur le processus à haute tension, les contrôleurs de dissipation AP33771C de Diodes Inc offrent une protection contre les courts-circuits entre les broches CC1/CC2 et les broches haute tension adjacentes jusqu’à 34 V. Le micrologiciel intelligent intégré offre des schémas de protection de sécurité complets, notamment une protection contre les surtensions (OVP), une protection contre les sous-tensions (UVP), une protection contre les surintensités (OCP) et une détection d’humidité entre le DP et le DN. Un indicateur LED est utilisé pour montrer l’état de négociation d’alimentation PD. La compensation automatique de chute de tension du câble est mise en œuvre pour couvrir les situations d’utilisation pratiques. L'AP33771C, quant à lui, peut indiquer l’orientation d’insertion de la fixation de Type C.
Caractéristiques
- Certifié USB PD 3.1 v1.6 avec TID : 9960
- Plage de tension de fonctionnement de 3 à 31 VCC
- Prend en charge PD 3.1 EPR/AVS jusqu’à 28 V et SPR/PPS jusqu’à 21 V
- Sélections de tension/courant via les paramètres de résistance
- Prend en charge l'indication FLIP de la fixation Type-C
- Prend en charge OVP avec réinitialisation matérielle et redémarrage automatique
- Prend en charge UVP et OCP avec arrêt de la puissance de sortie
- Pilote pour commutateur nMOS d'activation de sortie
- Prend en charge la fonction de batterie vide
- Compensation automatique de chute de tension du câble
- Protection contre les courts-circuits VBUS sur les broches CC1/CC2 jusqu’à 34 V
- Détection d'humidité entre DP et DN
- Indication LED pour différents résultats de négociation
- Facile à utiliser
- Totalement sans plomb et conforme à la directive RoHS
- Composant vert sans halogène ni antimoine
Applications
- Dispositifs alimentés par batterie équipés d'un connecteur USB Type-C
- Dispositifs d’entrée d’alimentation CC équipés d’un connecteur USB Type-C
- Testeurs USB PD 3.1
Configuration standard du système
Schéma fonctionnel
