Analog Devices Inc. Contrôleur DSP à signal mixte ADSP-21992
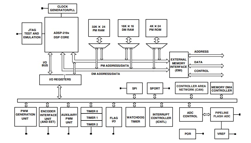
Le contrôleur DSP à signal mixte ADSP-21992 d'Analog Devices offre un cœur DSP ADSP-2199x, excellent pour diverses applications de contrôle de moteur industriel et de traitement de signaux à hautes performances. Ces applications idéales nécessitent de combiner un DSP haute performance avec l’intégration des signaux mixtes de périphériques de contrôle intégrés, tels que la conversion analogique-numérique, avec des interfaces de communication telles que CAN.L'ADSP-21992 d’ADI étend encore les capacités de la famille DSP à signal mixte ADSP-2199x en offrant 32 000 mots de mémoire de programme et 16 000 mots de mémoire de données RAM. De plus, l'ADSP-21992 fournit un port de communication CAN sur puce qui offre une prise en charge CAN 2.0B complète, avec 16 boîtes de réception configurables et des filtres d’acceptation individuels.
Caractéristiques
- Cœur DSP à point fixe, 16 bits ADSP-2199x avec des performances continues jusqu’à 160 MIPS
- 48 000 mots de RAM sur puce, dont32 000 mots de RAM de programme 24 bits sur puce et 16 000 mots de RAM de données 16 bits sur puce
- Interface mémoire externe
- Contrôleur DMA de mémoire dédié au transfert de données/d'instructions entre la mémoire interne et externe
- PLL Programmable et circuit de génération d’horloge flexible permettant un fonctionnement à pleine vitesse à partir d’horloges d’entrée à faible vitesse
- Le port d’accès aux tests standard selon la norme IEEE JTAG 1 149.1 prend en charge l’émulation sur puce et le débogage système
- Système de convertisseur analogique-numérique 14 bits à 8 canaux, avec un taux d’échantillonnage pouvant atteindre 20 MS/s (à une fréquence d’horloge du cœur de 160 MHz)
- Unité de génération PWM triphasée 16 bits centrée avec résolution de12,5 ns à une fréquence d’horloge du cœur (CCLK) de 160 MHz
- Unité d’interface d’encodeur 32 bits dédiée avec synchroniseur d’événements d’encodeur compagnon
- Deux sorties MLI (modulation de largeur d'impulsion) auxiliaires 16 bits
- 16 broches E/S à usage général
- 3 minuteurs d'intervalle de 32 bits programmables
- Port de communication SPI avec fonctionnement maître ou esclave
- Port de communication série synchrone (SPORT) capable d’émulation UART logicielle
- Module CAN (Controller Area Network), entièrement conforme à la norme V2.0B
- Minuteur watchdog intégré
- Contrôleur d’interruption périphérique dédié avec contrôle de priorité logiciel
- Modes de démarrage multiples
- Référence de tension de précision de 1,0 V
- Générateur de réinitialisation à la mise sous tension (POR) intégré
- Gestion d’alimentation flexible avec modes de mise hors tension et de repos sélectionnables
- Fonctionnement interne de 2,5 V avec E/S de 3,3 V
- Plages de température de fonctionnement de -40 °C à +85 °C et de -40 °C à +125 °C
Schéma fonctionnel
Publié le: 2024-07-30
| Mis à jour le: 2024-08-26
