Analog Devices Inc. Commutateurs SPDT au silicium ADRF5023
Les commutateurs SPDT au silicium ADRF5023 d'Analog Devices Inc. sont des commutateurs unipolaires bidirectionnels (SPDT) non réfléchissants fabriqués selon le procédé au silicium. L'ADRF5023 fournit une plage de fonctionnement de 9 kHz à 45 GHz avec un affaiblissement d'insertion standard de 1,7 dB et un isolement de 42 dB. Les commutateurs disposent d'une capacité de puissance d'entrée RF de 30 dBm pour le chemin traversant, 24 dBm pour le chemin terminé et 30 dBm pour la commutation à chaud au port commun RF. Les composants ont besoin d'une alimentation positive de 3,3 V et d'une alimentation négative de -3,3 V. L'ADRF5023 utilise des contrôles compatibles CMOS (semiconducteurs à oxyde métallique complémentaires)/logique de transistor à transistor basse tension (LVTTL).Les commutateurs SPDT au silicium ADRF5023 d'ADI fonctionnent également avec une tension d'alimentation positive unique (VDD) appliquée tandis que la tension d'alimentation négative (VSS) est liée à la terre. Les performances de petit signal sont maintenues dans cette condition de fonctionnement tandis que les caractéristiques de commutation, la linéarité et les performances de gestion de puissance sont réduites.
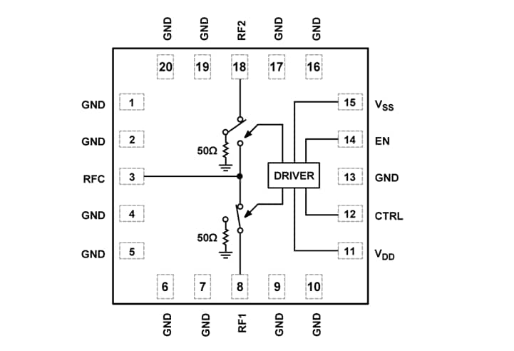
L'ADRF5023 est logé dans un boîtier LGA (Land Grid Array) à 20 fils, 3,0 mm x 3,0 mm, conforme à la directive RoHS, et fonctionne de -40 °C à +105 °C.
Caractéristiques
- Gamme de fréquences à ultra large bande de 9 kHz à 45 GHz
- Conception non réfléchissante
- Perte d'insertion faible
- 0,9 dB standard à 18 GHz
- 1,6 dB standard à 40 GHz
- 1,7 dB standard à 45 GHz
- Traitement de haute puissance à TCASE = +85 °C
- Chemin traversant 30 dBm
- Chemin de terminaison 24 dBm
- Commutation à chaud 30 dBm (port RFC)
- Haut isolement de 42 dB standard à 45 GHz
- Grande linéarité d'entrée
- Compression de puissance 0,1 dB (P0,1 dB) de 31 dBm
- Interception de troisième ordre (IP3) de 53 dBm
- Temps de stabilisation RF de 3,5 μs (sortie RF finale de 0,1 dB)
- Aucun signal parasite à basse fréquence
- Contrôle de l'état bloqué
- Interface de contrôle positif de CMOS-/compatible LVTTL
- Boîtier LGA 20 fils, 3,0 mm x 3,0 mm
Applications
- Test et instrumentation
- Infrastructure cellulaire à ondes millimétriques 5G
- Radios, radars et contre-mesures électroniques militaires (ECM)
- Radios micro-ondes et très petites bornes d'ouverture (VSATs)
- Lecteurs industriels
Ressources supplémentaires
Schéma fonctionnel
Publié le: 2023-02-22
| Mis à jour le: 2023-02-27
